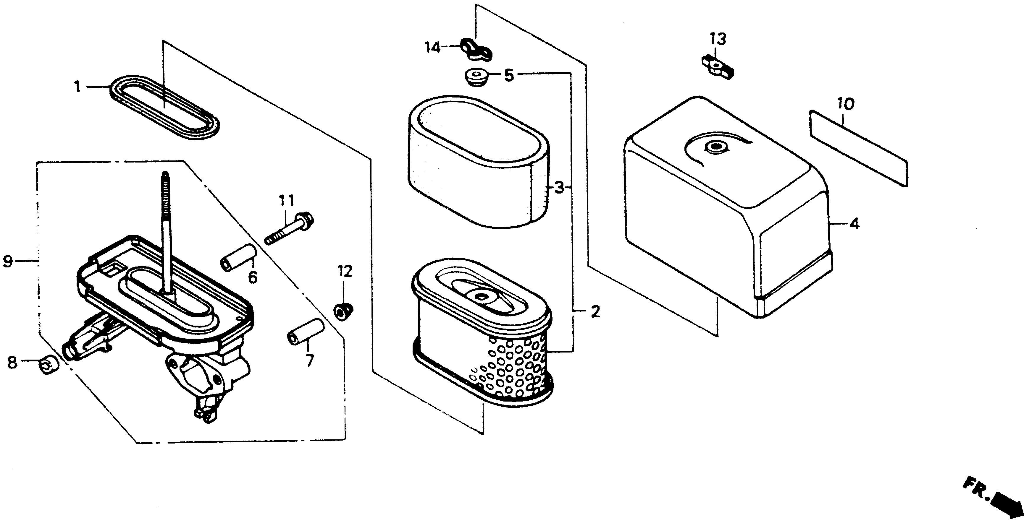
Riding Mower HT-R HT-R3811 HT-R3811 SA MABT-5000001-9999999 AIR CLEANER - Blue Mountain Small Engine & Repair

Ref No
Part Number
Description
Serial Range
Qty
Price

Ref No
1
Part Number
16271-ZE8-000
Description
GASKET, ELBOW
Serial Range
1000001 - 9999999
Qty
Price
$4.64

Ref No
2
Part Number
17210-ZF5-010
Description
ELEMENT, AIR CLEANER (METAL BASE)
Serial Range
1000001 - 9999999
Qty
Price
$33.14

Ref No
2
Part Number
17210-ZF5-505
Description
ELEMENT, AIR CLEANER (METAL BASE)
Serial Range
1000001 - 9999999

Ref No
3
Part Number
17218-ZF5-305
Description
FILTER (OUTER)
Serial Range
1000001 - 9999999
Qty
Price
$8.30

Ref No
3
Part Number
17218-ZF5-505
Description
FILTER (OUTER)
Serial Range
1000001 - 9999999

Ref No
4
Part Number
17230-ZE8-013
Description
COVER, AIR CLEANER (DUAL)
Serial Range
1000001 - 9999999
Qty
Price
$35.84

Ref No
5
Part Number
17232-891-000
Description
GROMMET, AIR CLEANER
Serial Range
1000001 - 9999999
Qty
Price
$5.62

Ref No
6
Part Number
17238-ZE1-000
Description
COLLAR, AIR CLEANER
Serial Range
1000001 - 9999999
Qty
Price
$5.46

Ref No
7
Part Number
17238-ZE2-310
Description
COLLAR, AIR CLEANER
Serial Range
1000001 - 9999999
Qty
Price
$4.56

Ref No
8
Part Number
17239-ZE8-700
Description
SPACER, AIR CLEANER ELBOW
Serial Range
1000001 - 9999999
Qty
Price
$5.66

Ref No
9
Part Number
17410-ZE8-013
Description
ELBOW, AIR CLEANER
Serial Range
1029065 - 9999999
Qty
Price
$45.46

Ref No
11
Part Number
90016-ZE8-000
Description
BOLT, FLANGE (6X45) (CT200)
Serial Range
1035000 - 9999999
Qty
Price
$2.82

Ref No
12
Part Number
90201-415-000
Description
NUT, CAP (6MM)
Serial Range
1000001 - 9999999

Ref No
13
Part Number
90203-ZA0-800
Description
WINGNUT (6MM) (BLACK)
Serial Range
1027171 - 9999999
Qty
Price
$4.20

Ref No
14
Part Number
90325-044-000
Description
NUT, TOOL BOX SETTING
Serial Range
1027171 - 9999999
Qty
Price
$5.14