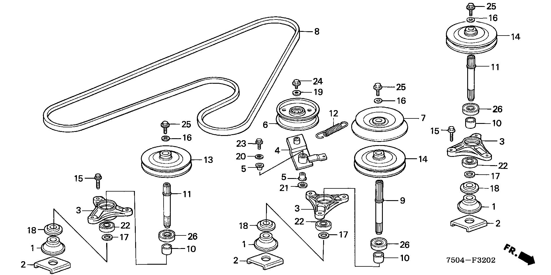
Lawn Tractor HT HT4213 HT4213 SA MAAT-5000001-5099999 BLADE SHAFT@DRIVEN PULLEY (HT4213) - Blue Mountain Small Engine & Repair

Ref No
Part Number
Description
Serial Range
Qty
Price

Ref No
1
Part Number
72620-751-701
Description
HOLDER, BLADE
Serial Range
1000001 - 9999999
Qty
Price
$54.96

Ref No
2
Part Number
72625-751-700
Description
HOLDER, BLADE (B)
Serial Range
1000001 - 9999999
Qty
Price
$23.34

Ref No
3
Part Number
72711-752-830
Description
HOUSING, BEARING (NOT AVAILABLE)
Serial Range
1000001 - 9999999

Ref No
4
Part Number
76120-750-700
Description
ARM, TENSIONER (NOT AVAILABLE)
Serial Range
1000001 - 9999999

Ref No
5
Part Number
76121-752-830
Description
BUSH, TENSIONER ARM (15X19X14) (NOT AVAILABLE)
Serial Range
1000001 - 9999999

Ref No
6
Part Number
76130-750-000
Description
ROLLER, TENSIONER
Serial Range
1000001 - 9999999

Ref No
7
Part Number
76140-752-830
Description
PULLEY, DRIVEN
Serial Range
1000001 - 9999999

Ref No
8
Part Number
76181-750-701
Description
V-BELT, BLADE (76'') (NOT AVAILABLE)
Serial Range
1000001 - 9999999

Ref No
9
Part Number
76212-752-830
Description
SHAFT C, BLADE (NOT AVAILABLE)
Serial Range
1000001 - 9999999

Ref No
10
Part Number
76213-751-700
Description
COLLAR, BLADE SHAFT
Serial Range
1000001 - 9999999
Qty
Price
$12.08

Ref No
11
Part Number
76214-751-700
Description
SHAFT, BLADE (112.5MM)
Serial Range
1000001 - 9999999
Qty
Price
$86.26

Ref No
12
Part Number
76215-751-700
Description
SPRING, TENSIONER ARM (BLADE) (NOT AVAILABLE)
Serial Range
1000001 - 9999999

Ref No
13
Part Number
76220-752-830
Description
PULLEY, R. DECK (NOT AVAILABLE)
Serial Range
1000001 - 9999999

Ref No
14
Part Number
76240-752-830
Description
PULLEY, DECK (NOT AVAILABLE)
Serial Range
1000001 - 9999999

Ref No
15
Part Number
90002-752-830
Description
BOLT, FLANGE (10X28)
Serial Range
1000001 - 9999999

Ref No
16
Part Number
90405-752-830
Description
WASHER (10.5X27)
Serial Range
1000001 - 9999999
Qty
Price
$10.64

Ref No
16
Part Number
90405-758-L00
Description
WASHER (10.5X27X4)
Serial Range
1000001 - 9999999
Qty
Price
$10.64

Ref No
17
Part Number
90428-752-830
Description
WASHER, THRUST (20MM)
Serial Range
1000001 - 9999999
Qty
Price
$3.94

Ref No
18
Part Number
90429-752-830
Description
WASHER, BLADE HOLDER
Serial Range
1000001 - 9999999
Qty
Price
$10.16

Ref No
19
Part Number
90430-657-000
Description
WASHER (23X8.3X3.2)
Serial Range
1000001 - 9999999
Qty
Price
$8.56

Ref No
20
Part Number
90473-896-000
Description
WASHER (6MM)
Serial Range
1000001 - 9999999
Qty
Price
$2.34

Ref No
21
Part Number
90532-750-000
Description
WASHER, PLAIN (17.2MM)
Serial Range
1000001 - 9999999
Qty
Price
$4.92

Ref No
22
Part Number
91055-752-831
Description
BEARING, RADIAL BALL
Serial Range
1000001 - 9999999
Qty
Price
$22.20

Ref No
23
Part Number
95701-06012-08
Description
BOLT, FLANGE (6X12)
Serial Range
1000001 - 9999999
Qty
Price
$2.04

Ref No
24
Part Number
95701-08014-08
Description
BOLT, FLANGE (8X14)
Serial Range
1000001 - 9999999
Qty
Price
$2.20

Ref No
25
Part Number
95900-10016-08
Description
BOLT, FLANGE (10X16) (NA USE ALT:95700-10016-08)
Serial Range
1000001 - 9999999

Ref No
26
Part Number
96150-62040-10
Description
BEARING, RADIAL BALL (6204UU)
Serial Range
1000001 - 9999999
Qty
Price
$26.04