Lawn Tractor HT HT3810 HT3810K1 SA HT3810-5100001-5199999 HEIGHT ADJUSTING LEVER - Blue Mountain Small Engine & Repair

Ref No
Part Number
Description
Serial Range
Qty
Price

Ref No
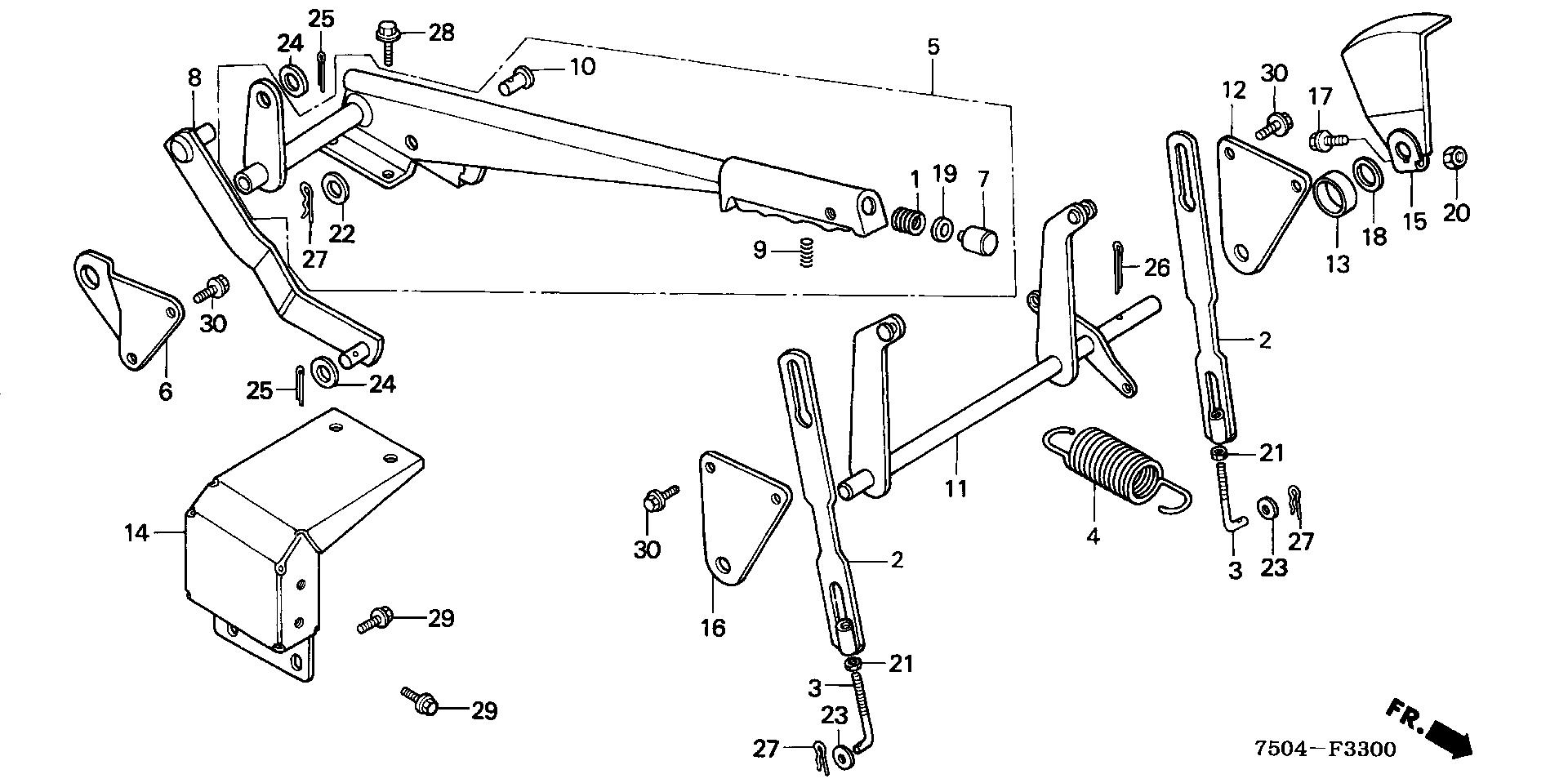
1
Part Number
47143-671-310
Description
SPRING, PUSH ROD
Serial Range
1000001 - 9999999

Ref No
2
Part Number
76177-750-000
Description
ROD, CUTTER DECK LIFT
Serial Range
5005702 - 9999999

Ref No
3
Part Number
76178-750-000
Description
BOLT, LIFT ROD ADJUSTING (NOT AVAILABLE)
Serial Range
5002290 - 9999999

Ref No
4
Part Number
76193-750-000
Description
SPRING, DECK LIFT
Serial Range
1000001 - 9999999

Ref No
5
Part Number
76310-750-000
Description
LEVER ASSY., HEIGHT ADJUSTING
Serial Range
1000001 - 9999999

Ref No
5
Part Number
76310-750-010
Description
LEVER ASSY., HEIGHT ADJUSTING
Serial Range
1000001 - 9999999

Ref No
6
Part Number
76313-750-000
Description
STAY, ADJUSTING LEVER
Serial Range
5116920 - 9999999

Ref No
7
Part Number
04405-750-020
Description
GRIP KIT, DECK ADJUST
Serial Range
1000001 - 9999999
Qty
Price
$44.12

Ref No
7
Part Number
76314-750-300
Description
KNOB, PUSH ROD
Serial Range
5005700 - 9999999

Ref No
8
Part Number
76317-750-000
Description
LINK, HEIGHT ADJUSTING ROD (NOT AVAILABLE)
Serial Range
5005700 - 9999999

Ref No
10
Part Number
76324-750-300
Description
PIN, HEIGHT ADJUSTING LEVER STOPPER
Serial Range
5116920 - 9999999
Qty
Price
$4.26

Ref No
11
Part Number
76330-750-000
Description
SHAFT, LIFT
Serial Range
1000001 - 9999999

Ref No
12
Part Number
76331-750-000
Description
STAY, L. LIFT SHAFT
Serial Range
1000001 - 9999999
Qty
Price
$38.08

Ref No
13
Part Number
76332-750-000
Description
SHACKLE
Serial Range
1000001 - 9999999

Ref No
14
Part Number
76335-750-000
Description
BRACKET, HEIGHT ADJUSTING LEVER
Serial Range
1000001 - 9999999

Ref No
15
Part Number
76338-750-000
Description
INDICATOR, HEIGHT ADJUSTING
Serial Range
1000001 - 9999999

Ref No
16
Part Number
76339-750-000
Description
STAY, R. LIFT SHAFT
Serial Range
1000001 - 9999999
Qty
Price
$38.08

Ref No
17
Part Number
90102-KE5-000
Description
BOLT, FLANGE (6X40)
Serial Range
1000001 - 9999999
Qty
Price
$3.80

Ref No
18
Part Number
90403-952-770
Description
WASHER, PLAIN (22MM)
Serial Range
1000001 - 9999999
Qty
Price
$2.86

Ref No
20
Part Number
94001-06000-0S
Description
NUT, HEX. (6MM)
Serial Range
5116920 - 9999999

Ref No
20
Part Number
94001-06200-0S
Description
NUT, HEX. (6MM)
Serial Range
1000001 - 9999999
Qty
Price
$1.60

Ref No
21
Part Number
94001-10070-0S
Description
NUT, HEX. (10MM) (NOT AVAILABLE)
Serial Range
1000001 - 9999999

Ref No
22
Part Number
94102-10000
Description
WASHER, PLAIN (10MM)
Serial Range
1000001 - 9999999
Qty
Price
$0.92

Ref No
23
Part Number
94102-10800
Description
WASHER, PLAIN (10MM)
Serial Range
1000001 - 9999999
Qty
Price
$4.34

Ref No
24
Part Number
94102-12800
Description
WASHER, PLAIN (12MM)
Serial Range
1000001 - 9999999
Qty
Price
$1.48

Ref No
25
Part Number
94201-30250
Description
PIN, SPLIT (3.0X25)
Serial Range
1000001 - 9999999

Ref No
25
Part Number
94201-30450
Description
PIN, SPLIT (3.0X45)
Serial Range
1000001 - 9999999
Qty
Price
$1.26

Ref No
26
Part Number
94201-40350
Description
PIN, SPLIT (4.0X35)
Serial Range
1000001 - 9999999
Qty
Price
$1.38

Ref No
27
Part Number
94252-10000
Description
PIN, LOCK (10MM)
Serial Range
1000001 - 9999999
Qty
Price
$1.50

Ref No
28
Part Number
95701-08014-08
Description
BOLT, FLANGE (8X14)
Serial Range
1000001 - 9999999
Qty
Price
$2.20

Ref No
28
Part Number
95701-08014-08
Description
BOLT, FLANGE (8X14)
Serial Range
5113545 - 9999999
Qty
Price
$2.20

Ref No
29
Part Number
95700-08016-00
Description
BOLT, FLANGE (8X16)
Serial Range
5103950 - 9999999

Ref No
29
Part Number
95701-08016-00
Description
BOLT, FLANGE (8X16)
Serial Range
5103950 - 9999999
Qty
Price
$2.20

Ref No
30
Part Number
95701-08016-08
Description
BOLT, FLANGE (8X16)
Serial Range
1000001 - 9999999
Qty
Price
$2.20