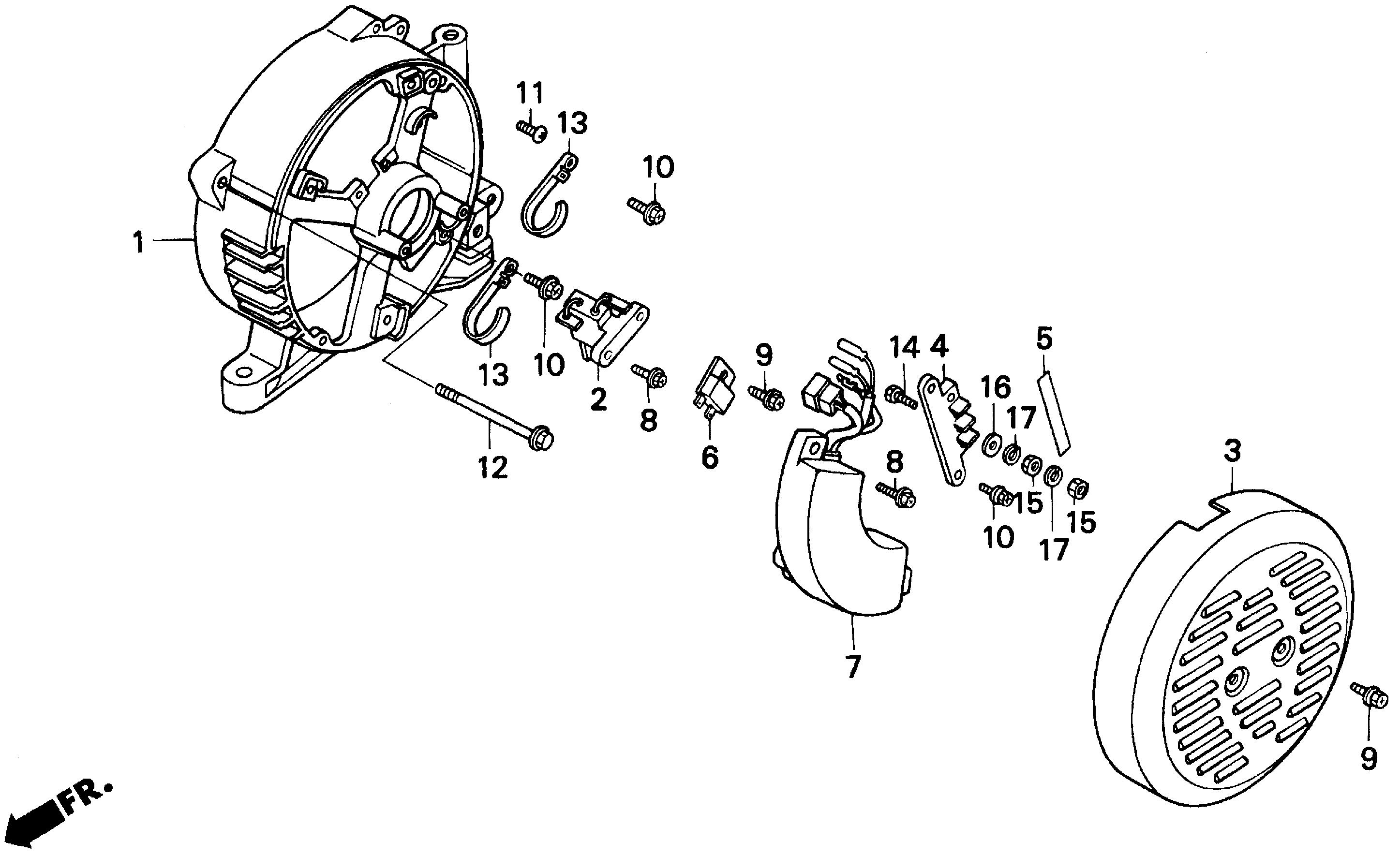
Generators EM EM5000 EM5000SX A EA7-1000001-1100000 REAR HOUSING - Blue Mountain Small Engine & Repair

Ref No
Part Number
Description
Serial Range
Qty
Price

Ref No
1
Part Number
311A0-ZB4-003H
Description
HOUSING, RR. (NOT AVAILABLE)
Serial Range
1000001 - 3010052

Ref No
1
Part Number
311A0-ZB4-013ZA
Description
HOUSING, RR. *R8* (BRIGHT RED)
Serial Range
3010053 - 3012411

Ref No
1
Part Number
311A0-ZB4-023
Description
HOUSING, RR.
Serial Range
3012412 - 3022920

Ref No
1
Part Number
311A0-ZB4-631
Description
HOUSING, RR. (NA USE ALT:31108-ZB4-631)
Serial Range
3022921 - 9999999

Ref No
2
Part Number
31106-ZB4-003
Description
BRUSH ASSY.
Serial Range
1012492 - 9999999
Qty
Price
$71.88

Ref No
3
Part Number
31113-ZB4-003ZA
Description
COVER, GENERATOR END *R8* (BRIGHT RED)
Serial Range
1000001 - 9999999

Ref No
4
Part Number
31118-898-691
Description
TERMINAL, VOLT CHANGE
Serial Range
1000001 - 9999999

Ref No
5
Part Number
31119-ZB4-631
Description
MARK, VOLT
Serial Range
1000001 - 9999999
Qty
Price
$3.94

Ref No
6
Part Number
31720-ZA8-013
Description
DIODE, D.C.
Serial Range
1000001 - 9999999

Ref No
7
Part Number
32350-ZB4-631
Description
REGULATOR ASSY., AUTOMATIC VOLTAGE
Serial Range
1000001 - 3012411

Ref No
7
Part Number
32350-ZB4-632
Description
REGULATOR ASSY., AUTOMATIC VOLTAGE (NOT AVAILABLE)
Serial Range
3012412 - 9999999

Ref No
8
Part Number
90031-ZC0-003
Description
SCREW, TAPPING (5X18)
Serial Range
1014289 - 9999999
Qty
Price
$2.60

Ref No
9
Part Number
90031-875-003
Description
SCREW, TAPPING (5X12)
Serial Range
1000001 - 9999999
Qty
Price
$2.80

Ref No
10
Part Number
90032-875-003
Description
SCREW, TAPPING (5X14)
Serial Range
1000001 - 3012411
Qty
Price
$2.72

Ref No
11
Part Number
90102-899-003
Description
SCREW, PAN (5X12)
Serial Range
1014289 - 9999999
Qty
Price
$3.90

Ref No
12
Part Number
90157-ZC2-003
Description
BOLT, FLANGE (6X160)
Serial Range
1000001 - 9999999
Qty
Price
$9.14

Ref No
13
Part Number
90673-ZB4-003
Description
TIE, CABLE
Serial Range
1000001 - 3012411
Qty
Price
$5.58

Ref No
14
Part Number
92000-05020-3J
Description
BOLT, HEX. (5X20)
Serial Range
1014289 - 9999999

Ref No
15
Part Number
94002-05390-0S
Description
NUT, HEX. (5MM)
Serial Range
1000001 - 9999999
Qty
Price
$0.84

Ref No
16
Part Number
94101-05800
Description
WASHER, PLAIN (5MM)
Serial Range
1000001 - 9999999
Qty
Price
$1.20

Ref No
17
Part Number
94111-05800
Description
WASHER, SPRING (5MM)
Serial Range
1000001 - 9999999
Qty
Price
$1.38